Ola bacanas este pequeno curso vai ajudar bastante que esta iniciando o trabalho com fibra optica.
CABOS ÓPTICOS
O uso de fibras ópticas gerou uma série de modificações nos conceitos de projeto e fabricação de cabos ópticos para telecomunicações. Nos cabos de condutores metálicos as propriedades de transmissão eram definidas pelo condutor, construção do cabo e materiais isolantes. Estes cabos eram pouco afetados nas suas características pelas trações e torções exercidas sobre os cabos durante a fabricação e instalação. Já nos cabos ópticos, a situação é diferente porque as características de transmissão dependem apenas da fibra óptica e sua fragilidade é notória. No projeto de cabos ópticos são observados os seguintes itens:
· número de fibras
· aplicação
· minimização de atenuação por curvaturas
· características de transmissão estável dentro da maior gama de temperatura possível
· resistência à tração, curvatura, vibração, compressão adequadas
· degradação com o tempo (envelhecimento)
· facilidade de manuseio, instalação, confecção de emendas, etc.
Durante a fabricação e instalação não se deve aplicar tensões excessivas sobre a fibra, pois a mesma tem ruptura teórica a 1800 kgf/mm. Na prática costuma-se não exceder 250 g de tensão para fibras de 125 mm de casca. O revestimento da fibra óptica deve ser deslizante (autolubrificante). Assim sendo, quando o revestimento primário for o silicone aplica-se uma camada de nylon. No caso do acrilato não é necessária a aplicação do nylon.
CONSTRUÇÃO DE CABOS ÓPTICOS
A construção de cabos ópticos é efetuada através de várias etapas de reunião de vários elementos, aplicação de capas, enchimentos, encordoamentos em equipamentos especiais, tais como extrusoras e planetárias. Neste processo efetua-se a cordagem das fibras em torno de elementos de apoio e tração. Para garantir-se uma probabilidade de longa vida para o cabo, é necessário não submeter a fibra a tensões elevadas. Para isso, são utilizados, durante a construção, elementos tensores e tubos os quais absorvem as solicitações mecânicas aplicadas no cabo. Esses elementos são muito importantes na construção do cabo assegurando estabilidade dimensional do mesmo.
ESTRUTURA TIGHT (ADERENTE)
Neste tipo de estrutura, as fibras ópticas estão em contato com a estrutura do cabo óptico. Possuem, por esta razão, elementos de tração bem resistentes.
ESTRUTURA LOOSE (NÃO ADERENTE)
Neste tipo de estrutura, a fibra óptica fica afastada da estrutura do cabo acondicionada em tubos (plásticos ou metálicos).
MEDIDAS EM FIBRAS ÓPTICAS
Para a caracterização das fibras ópticas são efetuadas medições que verificam as características de transmissão das fibras, a saber:
· atenuação espectral
· atenuação de inserção
· atenuação por retroespalhamento
· largura de banda
· abertura numérica
· perfil de índice de refração
TESTE DE ATENUAÇÃO ESPECTRAL
Este tipo de teste mede a atenuação da fibra óptica numa faixa de comprimentos de onda, normalmente contendo o comprimento de onda em que a fibra operará. É efetuado em laboratório devido à complexidade e precisão e fornece dados sobre a contaminação que pode ter ocorrido na fabricação da preforma e puxamento, principalmente o OH-.
O teste consiste em se medir a potência de luz após percorrer toda a fibra nos vários comprimentos de onda que se deseja medir a atenuação, esta é a primeira medida, ou ainda, a potência de saída. Após isso, corta-se a fibra a 2 ou 3 metros do início, sem alterar as condições de lançamento, e mede-se a potência de luz nesse ponto, que pode ser considerado como a potência de entrada, uma vez que 2 ou 3 metros tem atenuação desprezível; esta é a segunda medida. De posse das duas medidas, calcula-se a atenuação por [dB].
Onde:
· (1) - fonte de luz
· (2) - lentes
· (3) - monocromador
· (4) - fibra de lançamento
· (5) - eliminador de luz nas casca
· (6) - fibra óptica a ser medida
· (7) - detector óptico
· (8) - medidor de potência
· (9) - acoplamento FONTE-FIBRA optimizado
· (10) - acoplamento FIBRA-FIBRA optimizado
· (11) - acoplamento FIBRA-DETECTOR optimizado
TESTE DE ATENUAÇÃO DE INSERÇÃO
Este teste é mais apropriado para situações de campo e ele mede a atenuação da fibra óptica apenas num comprimento de onda, normalmente mede-se no comprimento de onda que o sistema opera. O teste utiliza dois instrumentos portáteis: o medidor de potência e a fonte de luz.
O teste divide-se em duas etapas, na primeira é efetuada uma calibração dos dois instrumentos, para conhecermos a potência de luz que será lançada, na fibra óptica, e na segunda é efetuada a medida de potência após a luz percorre toda a fibra óptica. A diferença entre as duas será o valor de atenuação.
TESTE DE ATENUAÇÃO POR RETROESPELHAMENTO
Este teste é realizado com um instrumento chamado OTDR (optical time domain reflectometer), que significa refletômetro óptico no domínio do tempo. O instrumento faz uso do fenômeno do espalhamento de Rayleigh, que é a irradiação da luz das moléculas de vidro, proporcional à luz incidente. O instrumento faz uso deste fenômeno da seguinte forma:
· Gera-se um impulso luminoso que é inserido na fibra óptica sob teste.
· Ao percorrer a fibra até um ponto X, a luz é atenuada.
· Ao chegar no ponto X, a luz provoca o espalhamento de Rayleigh das moléculas de vidro desse ponto, com intensidade proporcional à luz existente nesse ponto.
· Como o espalhamento é homogêneo em todas as direções, parte dessa energia luminosa retorna à fonte (OTDR).
· A luz que retorna à fonte também é atenuada. É importante observar que a atenuação do retorno à fonte é igual à atenuação do sinal até o ponto X, pois o caminho de propagação é o mesmo.
· O OTDR mede a potência de luz que retorna à fonte, bem como o tempo gasto para que o impulso gerado vá até o ponto X e retorne ao início da fibra.
Para que o OTDR possa calcular a localização do ponto X, é necessário fornecer-lhe o índice de refração da fibra sob teste. Para este cálculo, o instrumento faz uso da seguinte fórmula , onde
· L é a distância entre o ponto X e o início da fibra óptica
· Dt é o tempo de propagação do sinal luminoso de ida e volta ao ponto X
· v é a velocidade da luz na fibra dada por v=c/n (c é a velocidade da luz no vácuo e n é o índice de refração fornecido ao instrumento)
É importante observar que a atenuação só é precisa se o espalhamento de Rayleigh for homogêneo em toda a fibra óptica. As vantagens deste tipo de medida é que necessitamos de apenas uma ponta da fibra, não é destrutivo, possibilita medir comprimentos, atenuação das emendas, atenuação nos conectores, localiza defeitos, etc. Como desvantagens, podemos citar:
· Possui pequena faixa dinâmica de medidas
· A atenuação só é precisa se o espalhamento de Rayleigh for homogêneo em toda a fibra óptica
· Necessita do índice de refração
· Não mede atenuação espectral
Sua utilização é muito comum em todas as fases de implementação dos sistemas ópticos. Os instrumentos e acessórios utilizados neste teste são clivador, cordão de fibra de lançamento próprio para o OTDR utilizado (pig tail) e o OTDR.
TESTE DE LARGURA DE BANDA
Este teste determina a máxima velocidade de transmissão de sinais que uma fibra óptica pode ter, ou seja, mede a capacidade de resposta da fibra óptica. O teste é realizado com o objetivo de sabermos se a fibra óptica tem condições de operar com a taxa de transmissão especificada para o sistema. Existem duas formas básicas de realizarmos a medida:
- no domínio do tempo;
- no domínio da freqüência.
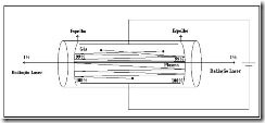
Para a realização do teste no domínio do tempo devemos realizar a montagem
da figura abaixo.
Medida no domínio do tempo
- através do laser de gás, gera-se um impulso luminoso de curta duração.
- com o osciloscópio mede-se as formas de onda dos impulsos de entrada e saída.
- se os impulsos tiverem forma Gaussiana (distribuição de Gauss), mede-se a largura dos impulsos à meia altura (50% da máxima amplitude).
- calcula-se a largura de banda por:
onde:
é a largura à meia altura do impulso de saída
é a largura à meia altura do impulso de entrada
- se os impulsos não apresentarem forma Gaussiana, obtem-se a largura de banda passante no domínio da freqüência definida por:
onde :
é a forma do impulso de entrada
O teste de largura de banda no domínio da freqüência consiste na obtenção direta, através de medidas, da função H(W). É recomendado para situações de campo (instalação, manutenção). Este teste consiste em modularmos uma fonte de luz senoidalmente, fazendo uma varredura na freqüência de modulação. A energia luminosa é introduzida na fibra óptica e detectada na outra extremidade por um medidor de potência.
Medida no domínio da freqüência
O módulo da função transferência é dado pela seguinte expressão:
H(W)= Ps(W)
PE(W)
onde:
Ps(W) é a potência de saída em função da freqüência de modulação
PE(W) é a potência de entrada em função da freqüência de modulação
Assim obtemos:
onde pode-se obter a banda passante B.
A largura de banda típica para fibras multimodo é menor que 1000MHz.km (500 a 600) em 850nm e para fibras monomodo temos de 10 a 100GHz.km em 1300nm.
Este teste é importante ser realizado em sistemas de fibras multimodo pois quando emendamos fibras com larguras de banda diferentes o resultado pode ser imprevisível. Uma expressão que prevê estatisticamente a largura de banda resultante é: , onde:
Bi é a banda passante do i-ésimo trecho
é o fator de concatenação de modos determinado empiricamente (para fibras ópticas multimodo = 0,8 é um valor típico, podendo variar de 0,5 a 1).
TESTE DE ABERTURA NUMÉRICA
A abertura numérica é um número que define a capacidade de captação luminosa da fibra óptica e é definida por: , onde:
n1 é o índice de refração do núcleo
n2 é o índice de refração da casca
Esta grandeza é intrínseca à própria fibra e é definida na fabricação, onde tem maior importância.
O valor típico para abertura numérica nas fibras multimodo 50/125um é 0,2 o que corresponde a um ângulo a=23° e a=11,5°. Como a abertura numérica é equivalente à distribuição de luz do campo distante, o teste mede a intensidade de luz desse campo.
Medida da distribuição de luz no campo distante
As medidas são obtidas através de um detector que percorre um deslocamento angular ou pela projeção do feixe de luz num anteparo graduado. Desta maneira se obtem o ângulo de abertura do feixe luminoso.
TESTE DO PERFIL DE ÍNDICE DE REFRAÇÃO
Este teste tem maior importância na fase de fabricação de fibras ópticas.
Não existem limites para o perfil de índice ,uma vez que qualquer imperfeição no mesmo implica numa diminuição da banda passante da fibra óptica , esta sim com limites específicos. O valor do índice de refração num determinado ponto é proporcional à distribuição de luz do campo próximo.
Medida da distribuição de luz no campo próximo
INSTALAÇÃO DE CABOS
Cabos ópticos requerem cuidados especiais para instalação pois as fibras são materiais frágeis e quebradiços. Deve-se observar que:
- o cabo não deve sofrer curvaturas acentuadas, o que pode provocar quebra das fibras em seu interior .
- o cabo não deve ser tracionado pelas fibras ou elementos de enchimento adjacentes a elas, mas sim pelos elementos de tração ou aço existentes no cabo.
- a velocidade de puxamento não deve ser muito elevada para permitir uma paralização imediata se necessário.
- não se deve exceder a máxima tensão de puxamento especificada para o cabo. Esta deve ser monitorada, através de uma célula de carga ,durante todo o puxamento.
- o cabo deve ser limpo e lubrificado a fim de diminuir o atrito de tracionamento.
- deve-se puxar o cabo com um destorcedor para permitir uma acomodação natural do cabo no interior do duto ou canalização.
CONFECÇÃO DE EMENDAS
Existem dois tipos básicos de emendas que podem ser efetuadas:
- emenda por fusão
- emenda mecânica
EMENDA POR FUSÃO
Neste tipo de emenda a fibra é introduzida numa máquina , chamada máquina de fusão, limpa e clivada, para , após o alinhamento apropriado, ser submetida à um arco voltaico que eleva a temperatura nas faces das fibras, o que provoca o derretimento das fibras e a sua soldagem. O arco voltaico é obtido a partir de uma diferença de potencial aplicada sobre dois eletrodos de metal.
Após a fusão a fibra é revestida por resinas que tem a função de oferecer resistência mecânica à emenda, protegendo-a contra quebras e fraturas. Após a proteção a fibra emendada é acomodada em recipientes chamados caixa de emendas.
As caixas de emendas podem ser de vários tipos de acordo com a aplicação e o número de fibras. Umas são pressurizáveis ou impermeáveism, outras resistentes ao sol, para instalação aérea.
A CLIVAGEM é o processo de corte da ponta da fibra óptica. É efetuada a partir de um pequeno ferimento na casca da fibra óptica (risco) e a fibra é tracionada e curvada sob o risco, assim o ferimento se propaga pela estrutura cristalina da fibra.
A qualidade de uma clivagem deve ser observada com microscópio.
EMENDA MECÂNICA
Este tipo de emenda é baseado no alinhamento das fibras através de estruturas mecânicas. São dispositivos dotados de travas para que a fibra não se mova no interior da emenda e contém líquidos entre as fibras , chamados líquidos casadores de índice e refração, que tem a função de diminuir as perdas de Fresnel (reflexão). Neste tipo de emenda as fibras também devem ser limpas e clivadas.
Este tipo de emenda é recomendado para aqueles que tem um número reduzido de emendas a realizar pois o custo desses dispositivos é relativamente barato, além de serem reaproveitáveis.
CONECTORES
Os conectores utilizam acoplamentos frontais ou lenticulares, sendo que existem três tipos de acoplamentos frontais:
- quando a superfície de saída é maior que a de entrada
- quando a superfície de saída é igual à de entrada
- quando a superfície de saída é menor que a de entrada
E também existem dois tipos de acoplamentos lenticulares:
- simétrico
- assimétrico
Os requisitos dos conectores são:
- montagem simples;
- forma construtiva estável;
- pequenas atenuações;
- proteção das faces das fibras.
Os fatores que influenciam na qualidade de um conector são:
- alinhamento
- montagem
- características de transmissão das fibras
Existem conectores:
- para fibra única
- para várias fibras (múltiplo)
Conector para fibra única
Conector múltiplo
Com relação à forma que se realiza o alinhamento podemos ter vários tipos de estruturas sendo que os mais comuns são os circulares e os tipo V-GROOVE. Os tipos circulares são recomendados para conecções duradouras enquanto que os V-GROOVE para situações provisórias de conecções de fibras nuas(sem revestimento).
Tipos de alinhamentos de fibras ópticas
Fontes Ópticas
Tipos de Fontes Ópticas
Para sistemas ópticos, encontramos dois tipos de fontes ópticas que são freqüentemente utilizadas: LED e LASER.
Cada um destes dois tipos de fontes oferecem certas vantagens e desvantagens, e diferenciam-se entre sí sob diversos aspectos:
- Potência luminosa: os lasers oferecem maior potência óptica se comparados com
os leds.
LED : (-7 a -14dBm)
LASER : (1dBm)
- Largura espectral: os lasers tem largura espectral menor que os leds, o que
proporciona menor dispersão material.
- Tipos e velocidades de modulação: os lasers tem velocidade maior que os leds, mas necessitam de circuitos complexos para manter uma boa linearidade.
- Acoplamento com a fibra óptica: o feixe de luz emitido pelo laser é mais concentrado que o emitido pelo led, permitindo uma eficiência de acoplamento maior.
- Variações com temperatura: os lasers são mais sensíveis que os leds à temperatura.
- Vida útil e degradação: os leds tem vida útil maior que os lasers (aproximadamente 10 vezes mais), além de ter degradação bem definida.
- Custos: os lasers são mais caros que os leds, pois a dificuldade de fabricação é maior.
- Ruídos: os lasers apresentam menos ruídos que os leds. Ambos podem ser fabricados do mesmo material, de acordo com o comprimento onda desejado:
* AlGaAs (arseneto de alumínio e gálio) para 850 nm.
* InGaAsP (arseneto fosfeto de índio e gálio) para 1300 e 1550 nm.
Através das características de ambos os elementos, vemos que o laser é o que nos fornece uma maior potência luminosa e uma menor largura espectral, razão pela qual é amplamente empregado nos circuitos ópticos. Desta forma, faremos um breve entendimento sobre os conceitos básicos do laser, bem como o seu funcionamento como fonte óptica.
LASER
Para entendermos o funcionamento de um laser, vamos tomar um laser a gás (HeNe) de maneira didática onde os números usados são ilusórios para maior visualização dos fenômenos.
Um átomo é composto de um núcleo e de elétrons que permanecem girando em torno do mesmo em órbitas bem definidas.
Quanto mais afastado do núcleo gira o elétron, menor a sua energia.
Quando um elétron ganha energia ele muda de sua órbita para uma órbita mais interna, sendo este um estado não natural para o átomo mas sim forçado.
Como esse estado não é natural, o átomo por qualquer distúrbio tende a voltar a seu estado natural, liberando a energia recebida em forma de ondas eletromagnéticas de comprimento de onda definido em função das órbitas do átomo.
Existem duas condições básicas para que o fenômeno laser aconteça:
· Inversão de população
· Alta concentração de luz
A inversão de população é o estado em que uma grande quantidade de átomos ficam com elétrons carregados de energia, girando em órbitas maior internas. É como se o átomo fosse engatilhado para o disparo de ondas eletromagnéticas (os fótons). Esse estado é conseguido através de altas tensões de polarização fornecidas ao laser (200 à 300V).
A alta concentração de luz é a perturbação necessária para que o átomo dispare, ou seja, volte a sua condição natural, liberando portanto, a energia armazenada em forma de ondas eletromagnéticas. Se tivermos uma quantidade de átomos suficientes engatilhados e se a concentração de luz for suficiente teremos um efeito multiplicativo onde o fóton gerado gera outros fótons, obtendo-se assim o fenômeno laser (emissão de radiação estimulada amplificada pela luz).
As características típicas de um laser são:
· luz coerente
· altas potências
· monocromaticidade
· diagrama de irradiação concentrado
· altas tensões de polarização
· fluxo de luz não proporcional à corrente
· vida útil baixa (10000 horas)
· sensível a variações de temperatura
· alto custo
· próprio para sinais digitais
· altas velocidades, ou seja, grande banda de passagem (1 Ghz ou mais)
Os lasers usados em sistemas ópticos são feitos de materiais semicondutores, os quais geram comprimentos de onda apropriados para transmissão (janelas de baixa atenuação). A cavidade onde ocorre o fenômeno laser é obtida através da diferença entre os índices de refração das várias camadas, da diferença de intensidade de campo elétrico e dos espelhos (face polida) do cristal semicondutor.
Existem dois tipos de lasers quanto ao tipo de fabricação:
- Lasers cujo guia de onda (cavidade ressonante) é induzida por corrente, chamados lasers GLD (gainguide laser diode).
- Lasers cujo guia de onda é incorporado pela variação de índice de refração, chamados lasers ILD (index guide laser diode).
As suas principais diferenças são:
a) Corrente de acionamento
GLD: 50 à 120 mA
ILD: 10 à 60 mA
b) Astigmatismo
GLD: forte
ILD: muito fraco
c) Sensibilidade
GLD: baixa
ILD: alta
d) Técnica de fabricação
GLD: simples
ILD: complexa
Os lasers são geralmente montados em módulos que tem a função básica de garantir um perfeito funcionamento e alinhamento em condições de operação, pois são componentes herméticos ou selados.
abs
muito bom e esclarecedor!!
ResponderExcluirclaro q nao a primeira vista esporadicamente leio o artigo e aos poucos entendo!!
apesar d estar um pouco desatualizado(nao sei qnd foi postado!)
mas fica aki meu agradecimento esta sendo muito esclarecedor para mim sou operador d fibra optica e me interesso muito pelo assunto nao por uma questao profissinal, mas sim d interesse particular!!
abraços meu amigo!!
e-mail: phelipe_vl@hotmail.com